1.模块逻辑
2.详细使用步骤
(1)自定义表单:
每个项目只需在执行前自定义好表单,自定义表单里填写的内容将用于填写项目总结报告和企业单项报告导出时所需信息
每个隐患排查项目开始前负责人进行自定义表单(也可使用系统设置好的基础表单,不一定适用于所有项目),项目工程师只需按照项目负责人定义好的表单填写信息即可,
a.创建表单:模板基础数据库管理——隐患自定义表单——创建表单
b.编辑表单内容
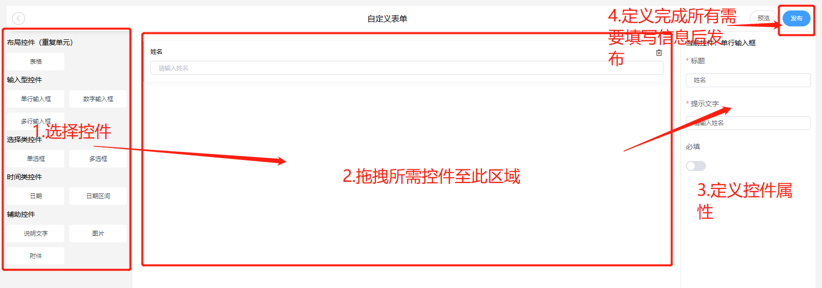
如下图,自定义表单页面分为三大块:
1)最左边:表单组建类型,可选择不同的组件,如布局类组件可创建重复单元如表格,输入类表单可单行、多行、数字输入,选择类组件为单项和多选,时间类表单为日期和日期区间,辅助类为说明文字、图片和附件
2)中间部分:选择对应组件,拖入中间位置进行组件先后顺序的布局及名称、内容的设定
3)最右边:用于定义当前选择组件的详情内容,如组件标题、组件提示性文字,是否必填等

c.发布自定义表单:定义好表单后,点击发布,输入自定义表单名称,选择该表单用于项目总结层级的信息还是企业单项类的信息,点击确定后发布,即可在定义项目报告时选择此时创建的表单

(2)创建隐患排查项目:
可从OA调取或是直接创建

a.创建项目:点击【项目管理】-【隐患排查报告升级版】进入
b.点击【添加项目】新建项目,添加项目立项信息;点击【使用OA项目】可直接导入OA系统中的项目,项目信息录入后点击确认创建成功
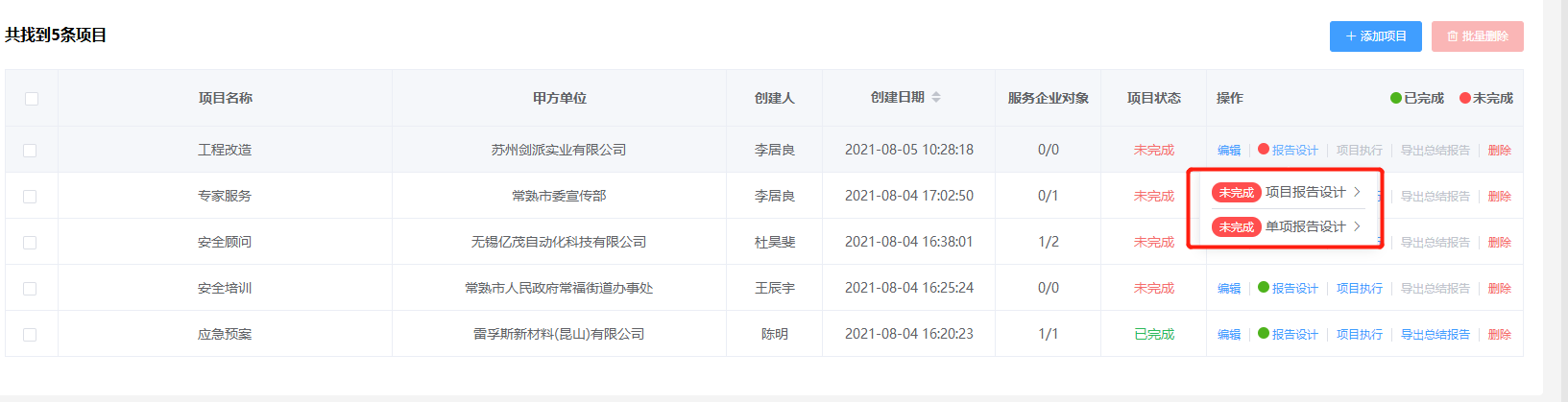
c. 创建成功的项目将出现在列表内,点击编辑可重新编辑项目信息,点击报告设计进行报告设计,点击项目执行进行项目正式执行信息录入,导出报告为导出总结报告
(3)设计导出报告样式:
项目创建完毕后进行,每个项目只需在项目开始前由项目负责人定义一次即可,项目工程师可直接在定义好的项目下执行项目
点击报告设计,分别对项目总结报告和企业单项报告进行设计
a.项目报告设计:用于该项项目总结报告的导出样式
1)点击项目报告设计,选择自定义的表单,用于采集项目层级的信息
2)准备一份报告样式,包含框架和内容
3)复制字段到准备的报告中对应的位置,系统将会把系统里大家填写的信息插入到对应位置
4)上传定义好的报告模板,用于导出项目总结报告

b.单项报告设计:用于每家企业的单项总结报告导出样式设计
1)点击单项报告设计,选择自定义好的表单,用于采集各家企业的信息

2)准备一份报告样式,包含框架和内容
3)复制字段到准备的报告中对应的位置,系统将会把系统里大家填写的信息插入到对应位置
4)自定义列:自定义的列为录入隐患信息时需要额外输入的信息

5)上传定义好的报告模板,用于导出项目总结报告

注意:不要随意切换已经定义好的表单,切换表单之前填写的对应表单内容将被彻底清空,打死都找不回来的那种!!!!!
如果项目执行过程中有新的要求,收集的基础信息需要变化或新增,需要重新自定义表单,原有填写数据将被彻底删除!
(4)项目执行
大部分工程师只需与此步骤打交道即可
a.填写项目基础信息:该项信息为自定义表单设定的内容

b.添加服务对象:可批量导入或从系统内已有企业选择,批量导入时,从系统内下载EXCEL模板,不要天才的自定义模板或者修改模板里面的单元格内容

c.填写企业基础信息:该项信息为自定义表单阶段设定的企业层级的表单内容
d.录入隐患信息:点击隐患管理,进入隐患信息添加页面
1)批量导入隐患:下载系统内预设的Excel表格,填写隐患,有与当前项目不符合的列,空下来即可,同样可以导入,有新增的列,在Excel最后一列逐项输入即可
2)单条添加隐患:点击添加隐患,在新增的行内输入隐患详情即可
3)批量导入图片:从电脑对应位置选择多张图片,一次导入该家企业的图片库,在对应隐患里选择图片即可
4)提交报告:项目隐患排查执行完毕,点击提交报告,系统后台将处理数据,用于报告导出,需要几十秒时间

(5)报告及统计数据生成
a.服务对象单家企业的报告数据:提交报告后,点击服务对象列表内的导出报告,可导出对应的数据
1)企业隐患汇总分析数据:包含隐患详情、分类统计
2)隐患整改通知单
3)企业隐患单项报告:依照单项报告设计设置的报告模板,导出对应样式的企业单项报告

b.导出隐患信息:在服务对象列表页,导出隐患信息,此处导出的数据为所有企业的隐患统计及单家统计

c.导出总结报告:在所有企业单项报告都提交完成,项目状态为已完成后,可以导出项目总结报告

3.自定义表单难点详解
自定义表单用法流程:选择对应控件——拖拽至中间区域——定义控件属性——发布

目前控件类型主要分为布局控件、信息采集控件及辅助控件三类
(1)布局控件
在需要输入多项重复内容时,使用布局控件,布局控件内可拖入多项其他控件
如,要收集下述人员信息表格
| 姓名 | 职责 | 照片 |
| 李XX | XXXXXXXXXXXXXXXXXXXXXXXXXXXXXXXXXXXXXXXXXXXXXXXXXXXXXXXXXXXXXXXXXXXXXXXXXXXXXXXXXXXXXXXX | |
| ASDF | AA | |
| AA | AA | |
| AAAAA | AAAAA | |
| SA | AAAA |
则可自定义表单如下
1.选择布局控件,拖入中间,定义标题为人员信息,设为必填

2.拖入单行输入框,定义标题为姓名,提示文字为请输入姓名,设置为必填

3.拖入多行输入框,定义标题为职责,提示文字为请输入人员职责

4.拖入图片控件,定义图片标题为照片,设置非必填

5.发布表单,形成如下格式,发布前可点击预览,查看定义的表单形成的样式,即为别人填写时看到的样式

(2)信息采集控件
包含输入型控件、选择类控件、时间类控件
顾名思义,输入型控件可定义单行输入、多行输入及数字输入,选择类控件可定义单选、多选下拉选框,时间类控件可定义日期和日期区间
使用时只需将控件拖入对应位置,并定义好属性即可
(3)辅助类控件
分为说明文字,图片,附件
说明文字用于解释某些内容,在发布的自定义表单中只展示说明信息,没有输入及交互功能
图片,用于表单发布后填写信息时上传图片,系统可将上传的图片通过自定义模板的形式插入到最终导出报告中
附件,用于表单发布后填写信息时上传附件,附件功能较为复杂,目前系统尚不支持将附件自定义插入到导出报告里
4.报告设计难点详解
1.选择自定义表单
从已经自定义好的表单列表里,选择此次项目适用的信息采集表单,该项表单用于采集项目层级信息
2.复制对应字段到Word模板
编辑好或选择一份已有的word模板,模板建议有较为完善的报告结构,包含封面、自动目录、多级标题等架构信息
复制对应字段名称到word模板里,如要将甲方单位填写到对应模板位置,只需点击复制,将复制到剪切板的内容粘贴到对应word里
特殊样式的定义
目前支持隐患类型柱状图、和管理要素饼状图的统计图表自定义
插入柱状图/饼状图——编辑柱状图及饼状图样式——右键选中图表——编辑替换文字——将复制的字段粘贴进去
注意:如果不会用,直接从下述项目总结报告模板和企业单项模板里找到对应图表,复制到模板对应位置,编辑样式即可
3.上传定义好的word模板作为最终导出报告样式
